Part Number Hot Search : 
32F100R6 TF255 D2091 NTE2398 03470 DA120 C114ES UPD720
Product Description
Full Text Search

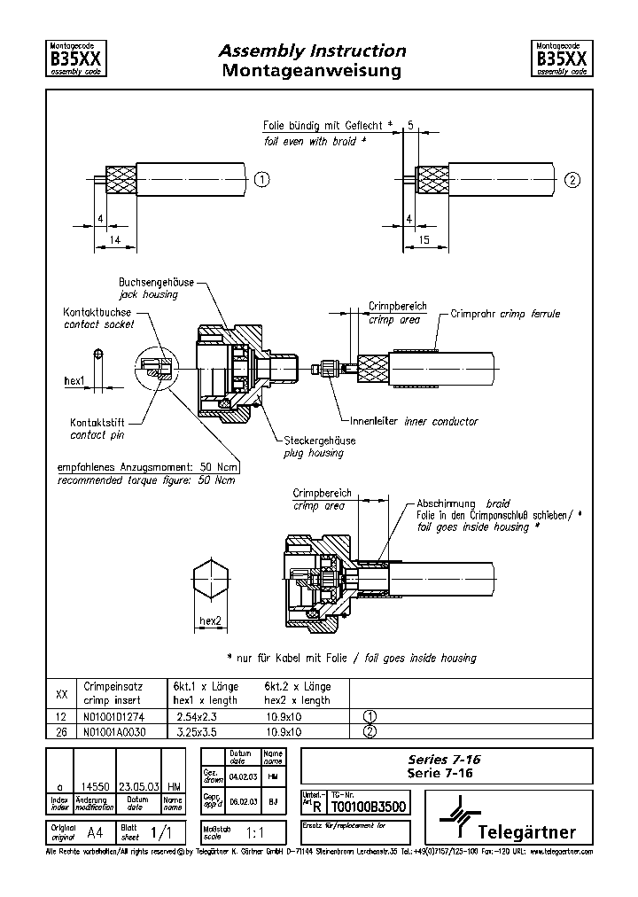
T00100B3500 - N CONNECTOR

T00100B3500_7369047.PDF Datasheet


 Full text search : N CONNECTOR
 Product Description search : N CONNECTOR


 Related Part Number
PART Description Maker
0009481064 A-41815-0006 09-48-1064 3.96mm (.156) Pitch KK? PC Board Connector, Right Angle, Polyester Connector, 5.0μm (200μ) Tin (Sn), 6 Circuits
MOLEX Connector
Molex Electronics Ltd.
0009481144 3.96mm (.156) Pitch KK? PC Board Connector, Right Angle, Polyester Connector, 5.0μm (200μ) Tin (Sn), 14 Circuits
MOLEX Connector
Molex Electronics Ltd.
0340620002 34062-0002 5.00mm (.197) Pitch MX150 Cable Sealed Female Connector, Single Row, 2Circuits, Polarization B, without Connector Position Assurance, Gray
MOLEX Connector
Molex Electronics Ltd.
0340620003 5.00mm (.197) Pitch MX150 Cable Sealed Female Connector, Single Row, 2Circuits, Polarization C, without Connector Position Assurance, Black
MOLEX Connector
Molex Electronics Ltd.
07-01-7101 07-01-7102 Connector; No. of Contacts:10; Pitch Spacing:0.175"; No. of Rows:1; Mounting Type:PCB; Gender:Female RoHS Compliant: Yes 10 CONTACT(S), FEMALE, POWER CONNECTOR
Commoning Connector Poly 10Ckt 10 CONTACT(S), FEMALE, POWER CONNECTOR
Molex, Inc.
DF9-15S-1V32 DF9-31S-1V32 DF9B-31S-1V32 1mm Pitch SMT Board to Board Connector(Standard Interface Connector Compliant with VESA FPDI-1)
31 CONTACT(S), FEMALE, STRAIGHT TWO PART BOARD CONNECTOR, SURFACE MOUNT, RECEPTACLE
Hirose Electric
70107-0012 70107-0011 SL WtW Conn SR WO/MtgE Opt A 13Ckt 13 CONTACT(S), MALE, TWO PART BOARD CONNECTOR, CRIMP
Connector Housing; Gender:Female; No. of Contacts:12; Series:; Color:Black; Connector Body Material:Polyester; No. of Rows:1; Pitch Spacing:0.1" RoHS Compliant: Yes 12 CONTACT(S), MALE, TWO PART BOARD CONNECTOR, CRIMP
Molex, Inc.
0009521096 09-52-1096 A-2145-AA09B-102 3.96mm (.156) Pitch KK? PC Board Connector, Right Angle, Nylon Connector, 5.0μm (200μ) Tin (Sn), 9 Circuits
3.96mm (.156") Pitch KK庐 PC Board Connector, Right Angle, Nylon Connector, 5.0渭m (200渭") Tin (Sn), 9 Circuits
3.96mm (.156") Pitch KK垄莽 PC Board Connector, Right Angle, Nylon Connector, 5.0楼矛m (200楼矛") Tin (Sn), 9 Circuits
MOLEX Connector
Molex Electronics Ltd.
IPT1-134-08-L-D-POL IPT1-134-08-S-D-POL IPT1-134-0 68 CONTACT(S), MALE, POWER CONNECTOR, SOLDER
80 CONTACT(S), MALE, POWER CONNECTOR, SOLDER
84 CONTACT(S), MALE, POWER CONNECTOR, SOLDER
86 CONTACT(S), MALE, POWER CONNECTOR, SOLDER
46 CONTACT(S), MALE, POWER CONNECTOR, SOLDER
88 CONTACT(S), MALE, POWER CONNECTOR, SOLDER
10 CONTACT(S), MALE, POWER CONNECTOR, SOLDER ROHS COMPLIANT
22 CONTACT(S), MALE, POWER CONNECTOR, SOLDER
14 CONTACT(S), MALE, POWER CONNECTOR, SOLDER
66 CONTACT(S), MALE, POWER CONNECTOR, SOLDER
100 CONTACT(S), MALE, POWER CONNECTOR, SOLDER
CONN PLUG .100 20POS DUAL PCB
16 CONTACT(S), MALE, POWER CONNECTOR, SOLDER
Samtec, Inc.
RCD Components, Inc.
Coilcraft, Inc.
SAMTEC INC
15-38-8100 15-38-8180 15-38-8070 15-38-8020 15-38- Connector Housing; Number of Contacts:10; Pitch Spacing:2.54mm; Number of Rows:1; Gender:Receptacle; Series:C-Grid SL; Connector Body Material:Polyester; Contact Termination:Crimp 10 CONTACT(S), FEMALE, FFC/FPC CONNECTOR, CRIMP
SL FFC/FPC Opt G Female Tin 18Ckt 18 CONTACT(S), FEMALE, FFC/FPC CONNECTOR, CRIMP
SL FFC/FPC Opt G Female Tin 7Ckt 7 CONTACT(S), FEMALE, FFC/FPC CONNECTOR, CRIMP
SL FFC/FPC Opt G Female Tin 2Ckt 2 CONTACT(S), FEMALE, FFC/FPC CONNECTOR, CRIMP
SL FFC/FPC Opt G Female Tin 4Ckt 4 CONTACT(S), FEMALE, FFC/FPC CONNECTOR, CRIMP
SL FFC/FPC Opt G Female Tin 12Ckt 12 CONTACT(S), FEMALE, FFC/FPC CONNECTOR, CRIMP
SL FFC/FPC Opt G Female Tin 13Ckt 13 CONTACT(S), FEMALE, FFC/FPC CONNECTOR, CRIMP
SL FFC/FPC Opt G Female Tin 16Ckt 16 CONTACT(S), FEMALE, FFC/FPC CONNECTOR, CRIMP
SL FFC/FPC Opt G Female Tin 23Ckt 23 CONTACT(S), FEMALE, FFC/FPC CONNECTOR, CRIMP
SL FFC/FPC Opt G Female Tin 20Ckt 20 CONTACT(S), FEMALE, FFC/FPC CONNECTOR, CRIMP
SL FFC/FPC Opt G Female 30 SAu 25Ckt 25 CONTACT(S), FEMALE, FFC/FPC CONNECTOR, CRIMP
SL FFC/FPC Opt G Female 15 SAu 20Ckt 20 CONTACT(S), FEMALE, FFC/FPC CONNECTOR, CRIMP
SL FFC/FPC Opt G Female 15 SAu 13Ckt 13 CONTACT(S), FEMALE, FFC/FPC CONNECTOR, CRIMP
SL FFC/FPC Opt G Female 15 SAu 9Ckt 9 CONTACT(S), FEMALE, FFC/FPC CONNECTOR, CRIMP
SL FFC/FPC Opt G Female 15 SAu 14Ckt
SL FFC/FPC Opt G Female 30 SAu 12Ckt
Molex, Inc.
MOLEX INC
50736-F501 50736-F223 50736-H695 50736-F745 50736- 200 CONTACT(S), FEMALE, RIGHT ANGLE TWO PART BOARD CONNECTOR, SOLDER, RECEPTACLE
88 CONTACT(S), FEMALE, RIGHT ANGLE TWO PART BOARD CONNECTOR, SOLDER, RECEPTACLE
276 CONTACT(S), FEMALE, RIGHT ANGLE TWO PART BOARD CONNECTOR, SOLDER, RECEPTACLE
296 CONTACT(S), FEMALE, RIGHT ANGLE TWO PART BOARD CONNECTOR, SOLDER, RECEPTACLE
236 CONTACT(S), FEMALE, RIGHT ANGLE TWO PART BOARD CONNECTOR, SOLDER, RECEPTACLE
260 CONTACT(S), FEMALE, RIGHT ANGLE TWO PART BOARD CONNECTOR, SOLDER, RECEPTACLE
128 CONTACT(S), FEMALE, RIGHT ANGLE TWO PART BOARD CONNECTOR, SOLDER, RECEPTACLE
220 CONTACT(S), FEMALE, RIGHT ANGLE TWO PART BOARD CONNECTOR, SOLDER, RECEPTACLE
160 CONTACT(S), FEMALE, RIGHT ANGLE TWO PART BOARD CONNECTOR, SOLDER, RECEPTACLE
280 CONTACT(S), FEMALE, RIGHT ANGLE TWO PART BOARD CONNECTOR, SOLDER, RECEPTACLE
68 CONTACT(S), FEMALE, RIGHT ANGLE TWO PART BOARD CONNECTOR, SOLDER, RECEPTACLE
228 CONTACT(S), FEMALE, RIGHT ANGLE TWO PART BOARD CONNECTOR, SOLDER, RECEPTACLE
232 CONTACT(S), FEMALE, RIGHT ANGLE TWO PART BOARD CONNECTOR, SOLDER, RECEPTACLE
180 CONTACT(S), FEMALE, RIGHT ANGLE TWO PART BOARD CONNECTOR, SOLDER, RECEPTACLE
316 CONTACT(S), FEMALE, RIGHT ANGLE TWO PART BOARD CONNECTOR, SOLDER, RECEPTACLE
40 CONTACT(S), FEMALE, RIGHT ANGLE TWO PART BOARD CONNECTOR, SOLDER, RECEPTACLE

 
 Related keyword From Full Text Search System
T00100B3500 state T00100B3500 port T00100B3500 Regulator T00100B3500 Search T00100B3500 reference voltage
T00100B3500 技术参数 T00100B3500 Rail T00100B3500 circuit T00100B3500 Noise T00100B3500 cantherm
 

 

Price & Availability of T00100B3500

All Rights Reserved © IC-ON-LINE 2003 - 2022  

[Add Bookmark] [Contact Us] [Link exchange] [Privacy policy]
Mirror Sites :  [www.datasheet.hk]   [www.maxim4u.com]  [www.ic-on-line.cn] [www.ic-on-line.com] [www.ic-on-line.net] [www.alldatasheet.com.cn] [www.gdcy.com]  [www.gdcy.net]


 . . . . .
  We use cookies to deliver the best possible web experience and assist with our advertising efforts. By continuing to use this site, you consent to the use of cookies. For more information on cookies, please take a look at our Privacy Policy. X
2.1702349185944